SZ-02 - Rohde AG | Griffe aus Aluminium, Edelstahl und Kunststoff
  • Gelber quadratischer Zaunpfosten mit schwarzem Punktschweißgitter, befestigt mit unverlierbarer Schraube und Montageplatte
  • Schutzzaun mit schwarz pulverbeschichtetem Gitter und gelbem quadratischem Pfosten mit schwarzen Halterungen, der eine Ecke mit verstellbarem Winkel zeigt.
  • Schwarzes Zaunfeld aus Punktschweißgitter mit gelbem Pfosten und schwarzer Abdeckung oben
  • Nahaufnahme eines Zaunfelds aus Punktschweißgitter mit 4mm Drahtstärke und stabilisierendem gelben Pfosten mit verstellbarer Schraube und Kabelführung
Gelber quadratischer Zaunpfosten mit schwarzem Punktschweißgitter, befestigt mit unverlierbarer Schraube und Montageplatte
Schutzzaun mit schwarz pulverbeschichtetem Gitter und gelbem quadratischem Pfosten mit schwarzen Halterungen, der eine Ecke mit verstellbarem Winkel zeigt.
Schwarzes Zaunfeld aus Punktschweißgitter mit gelbem Pfosten und schwarzer Abdeckung oben
Nahaufnahme eines Zaunfelds aus Punktschweißgitter mit 4mm Drahtstärke und stabilisierendem gelben Pfosten mit verstellbarer Schraube und Kabelführung

Schutzzaun ohne Rahmen SZ-02

Werkstoff
Die Zaunelemente bestehen aus einem Punktschweißgitter mit Drahtstärke ø4mm und Biegungen für mehr Stabilität.

Vorteile

  • Ein-Mann-Montage
  • Breite der Zaunelemente ist vor Ort anpassbar
  • beliebige Winkel sind möglich
  • unverlierbare Schrauben
  • Montageplatten für Sicherheitstechnik können vormontiert werden
  • Kabelführung am Zaun
  • Projektierung für Schutzzaun möglich
  • andere Farben
  • Füße sind in der Höhe verstellbar
  • nach ISO 13857

 

mehr anzeigen weniger anzeigen

Ausführung Pfosten

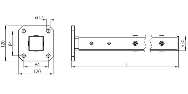
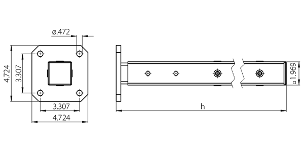
Technische Zeichnung eines Zaunpfostens mit Basisplatte und Maßen, Größe 120x120 mm, Bohrungsdurchmesser 12 mm, Pfostenbreite 50 mm
Technische Zeichnung eines Pfostens mit quadratischer Basisplatte inklusive Maßangaben
Maßeinheit
Höhe
2000
Bestell-Nr.
2550
Bestell-Nr.
2000
Bestell-Nr.
2550
Bestell-Nr.
2000
Bestell-Nr.
SZ-02.5050.2000.1023
2550
Bestell-Nr.
SZ-02.5050.2550.1023

Ausführung Zaunfeld

Technische Zeichnung eines rechteckigen Zaunfelds mit Gitterstruktur und gekennzeichneten Abmessungen Höhe (H) und Breite (B)
Maßeinheit
Höhe
Breite 1850
Bestell-Nr.
2400
Bestell-Nr.
Breite 1850
Bestell-Nr.
2400
Bestell-Nr.
Breite 240 1850
Bestell-Nr.
SZ-02.1850.0240.9005
2400
Bestell-Nr.
SZ-02.2400.0240.9005
Breite 420 1850
Bestell-Nr.
SZ-02.1850.0420.9005
2400
Bestell-Nr.
SZ-02.2400.0420.9005
Breite 780 1850
Bestell-Nr.
SZ-02.1850.0780.9005
2400
Bestell-Nr.
SZ-02.2400.0780.9005
Breite 1020 1850
Bestell-Nr.
SZ-02.1850.1020.9005
2400
Bestell-Nr.
SZ-02.2400.1020.9005
Breite 1200 1850
Bestell-Nr.
SZ-02.1850.1200.9005
2400
Bestell-Nr.
SZ-02.2400.1200.9005
Breite 1500 1850
Bestell-Nr.
SZ-02.1850.1500.9005
2400
Bestell-Nr.
SZ-02.2400.1500.9005
Breite 1740 1850
Bestell-Nr.
SZ-02.1850.1740.9005
2400
Bestell-Nr.
SZ-02.2400.1740.9005
Breite 1980 1850
Bestell-Nr.
SZ-02.1850.1980.9005
2400
Bestell-Nr.
SZ-02.2400.1980.9005

Zuletzt angesehene Artikel

Contact us

Bibus BV

Meer en Duin 295

2163 HE Lisse

The Netherlands

T +31(0)252-433733

sales@bibus.nl

www.bibus.nl